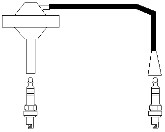
HT Extension Leads
High Tension Spark Plug Extension Leads
High Tension Spark Plug Extension Leads are the simple accessory that allows you to take accurate secondary ignition measurements on COP ignition systems.
| R 1,032.00 ex VAT | R 154.80 VAT | R 1,186.80 inc VAT |
| R 206.00 ex VAT | R 30.90 VAT | R 236.90 inc VAT |
| R 4,186.00 ex VAT | R 627.90 VAT | R 4,813.90 inc VAT |
HT extension leads are designed to aid diagnostics on secondary ignition circuits by allowing an HT measurement to be made when there is no, or limited, access to any spark plug leads. The leads are specifically designed for use with the PICO-MI074 Secondary Ignition Pickup.
HT extension leads aren't difficult to use: fit them between the coil pack and the plugs, place a capacitive secondary ignition pickup on each lead, and your scope will show accurate ignition waveforms with correct kV measurements.
HT extension leads are designed for use with PicoScope automotive scopes but can also be used on all other labscopes that are capable of displaying ignition patterns.
Documentation
Coil-on-Plug Extension Lead Quick Start Guide
Applications
NOTE: Please read and follow the instructions below. Failing to comply withthese user notes could result in expensive electrical components being damaged.
Pencil Coils
These coils are very popular on modern vehicles and either push-fit directly over the spark plug or are retained by a securing bolt. These coils can be tested individually, or if a complete set of extension leads is available, then all cylinders can be tested together.
- With the ignition turned off, disconnect the coil from the spark plug. This will inevitably require the multi-plug to be disconnected and reconnected. To aid this operation, it may be worth spraying the plug with some release oil to prevent any damage to the release tabs.
- Once the coil is disconnected from the spark plug and has its multi-plug refitted, place the extension lead between the spark plug and the coil. Ensure there is a positive ‘click’ into place at both ends. If for any reason there is not a secure fit, then the test lead should not be used.
- Ensure that any leads and the coil are not resting on any components that will get hot or rotate.
- If the coil was secured to the engine via a retaining bolt, then fit the ‘safety earth’ lead to the coil using the bolt supplied and back to the cylinder head. Again, if for any reason this is not possible, the test procedure should be terminated. Note: some coils have protective grease on them which prevents the lead making a secure connection, it is advisable to wipe this off and reapply after use.
- If multiple cylinders are to be tested at the same time, then follow instructions one to four for the remaining cylinders.
- Double-check all connections before attempting to start the vehicle’s engine.
- Connect the HT pick-up from the automotive kit to the extension lead and select: Automotive > Ignition > Secondary > Secondary CPC (negative fired) from the drop-down menu of the software.
Cartridge Coils
This system can only be tested if the user has the same number of extension leads as coils within the cartridge coil-pack. The cartridge coil-pack is fitted directly over all the spark plugs and lifts off in one unit.
- With the ignition turned off, disconnect the coil-pack from the spark plugs. This will inevitably require the multi-plug to be disconnected and reconnected. To aid this operation, it may be worth spraying the plug with some release oil to prevent any damage to the release tabs.
- Once the coil pack is disconnected from the spark plugs and has its multi-plug refitted, place an extension lead between each of the spark plugs and the coils. Ensure there is a positive ‘click’ into place at both ends and the correct lead goes to the corresponding plug and coil. If for any reason there is not a secure fit, then the test lead should not be used.
- Ensure that any leads or the coil-pack is not resting on any components that will get hot or rotate. If the coil-pack was secured to the engine by a retaining bolt, then fit the ‘safety earth’ lead to the coil pack using the bolt supplied and back to the cylinder head. Again, if for any reason this is not possible, the test procedure should be terminated.
- Double-check all connections before attempting to start the vehicle’s engine.
- Connect the HT pickup from the oscilloscope kit to one of the extension leads and select: Automotive > Ignition > Secondary > Secondary CPC (negative fired) from the drop-down menu of the software. Note: it may be possible that the coil pack is in fact wasted-spark, and then on a four-cylinder engine, two of the plugs will fire positive and require the (positive-fired) selection from the automotive menu.
Wasted Spark Coil Pack
This system has a wasted-spark coil pack mounted directly over one cylinder, whilst a plug lead connects the other end of the double-ended coil to another spark plug. In the case of the Alfa Romeo twin-spark system, the second spark plug is within the cylinder head for the same cylinder. Other systems may use a pair of these coils on a four-cylinder engine, and it may be possible to see two of the HT plug leads. As systems vary, the user will have to decide on the most appropriate connection method.
- With the ignition turned off, disconnect the coil from the spark plug. This will inevitably require the multi-plug to be disconnected and reconnected. To aid this operation, it may be worth spraying the plug with some release oil to prevent any damage to the release tabs.
- Once the coil is disconnected from the spark plug and has its multi-plug refitted, place the extension lead between the spark plug and the coil. Ensure there is a positive ‘click’ into place at both ends. If for any reason there is not a secure fit, then the test lead should not be used.
- If the existing plug lead is not long enough to allow the coil to be disconnected and placed on top of the cylinder head, then a second extension lead may be required.
- Ensure that the leads and the coil are not resting on any components that will get hot or rotate. If the coil was secured to the engine via a retaining bolt, then fit the ‘safety earth’ lead to the coil using the bolt supplied and back to the cylinder head. Again, if for any reason this is not possible, the test procedure should be terminated.
- If multiple cylinders are to be tested at the same time, then follow instructions one to five for the remaining cylinders.
- Double-check all connections before attempting to start the vehicle’s engine.
- Connect the HT pick-up from the oscilloscope kit to the extension lead and select:Automotive > Ignition > Secondary > Secondary DIS (negative fired) or DIS (positive fired) from the drop-down menu of the software. This will depend on which one of the two leads of the coil is being tested, as one will fire negative and one positive.

